1. (a). Define specific latent heat of vaporization.
(b) (i) Describe an experiment to determine the specific latent heat of vaporization of water.
(ii) A pan contains 4.0kg of water at 00 C. A jet of steam at 1000 C is passed through the water. What is the temperature of the water when 0.2kg of steam have condensed in it? Assume that no heat is lost or absorbed by the pan.
(c) (i) Differentiate between evaporation and boiling .
(ii) Explain in terms of kinetic theory why evaporation produced cooling.
(i) State two ways of making a liquid to evaporate more rapidly.
2. (a). What is meant by dispersion as applied to light?
(b) (i) State two advantages of a prism over a plane mirror in reflection of light .
(ii) With the aid of a diagram, describe the structure and working of the prism periscope.
(c) Explain the following,
(i) The colour of a cyan filter when a red light is passed through it.
(ii) The colour of a magenta surface under yellow light.
(d) An object 4 cm tall is placed 4cm in front of a concave mirror of focal length 12cm. By graphical construction, find the position and nature of the image formed.
3. (a) (a) (i) State Pascal’s principle.
(ii) Give three instances when Pascal’s principle is applied.
(iii) Describe an experiment to show that pressure in a liquid increases with depth. .
(iv) Describe how a manometer is used to measure gas pressure.
(b). Two microscopic slides are pressed together with water film in between them as shown in figure 1

Explain why it is very difficult to pull the slides a part.
(c) A barometer reads 76cm Hg and 73.8 cm Hg at the bottom and top of a mountain respectively .If the density of air is 1.25 kgm-3and that of mercury is 13,600kgm-3, find the height of the mountain.
4. (a). A block of plastic and a block of lead, each 0.2 kg are released simultaneously and fall down a well with water at the bottom.
The lead block took 4.0 s to reach the water surface of the water.
(ii) State and explain any difference in the time of arrival of the two blocks at surface of the water.
(iii) Calculate the speed with which the lead block strikes the water surface.
(iv) Find the distance of the water surface from the top of the well.
(b) Figure 2 represents the velocity –time graph for a ball which is projected up a smooth inclined plane.

(i) How far does the ball move in the first 5 s?
(ii) What is the velocity of the ball after 8 s
(c) Describe an experiment to measure acceleration of a body using a ticker –timer of frequency 50Hz.
5. (a) A bar magnet is placed with its axis along the magnetic meridian with its south pole pointing north.
(i) Sketch the magnetic flux pattern near the magnet in the earth’s field.
(ii) With reference to the sketch, explain what is meant by a neutral point in a magnetic field.
(b) (i) Describe an experiment to determine the magnetic field pattern of a bar magnet using iron filings.
(ii) State one advantage and one disadvantage of the method in (b) (i)
(c) Describe how the earth’s magnetic meridian may be determined.
(d) A galvanometer has a coil of resistance 8 Ω and gives a full-scale deflection when a current of 0.5 mA is supplied . Calculate the resistance that can be used to convert it into an ammeter measuring up to 5A.
6. (a) What are cathode rays?
(i) Give two properties of cathode rays.
(ii) State two differences between cathode rays and gamma rays.
(b) In the cathode ray oscilloscope, explain the effect of the following on the brightness of the electron on the screen.
(i) Increasing the filament current.
(ii) Decreasing the anode voltage.
(c) Figure 4 shows the appearance of the screen of a cathode ray oscilloscope when an a.c Voltage is connected across the Y-plates. A vertical trace of length 4cm is formed. If the Y-gain is set at 5Vcm-1, find the peak voltage of the a.c voltage

(d) (i) What is meant by nuclear fission ?
(ii) Outline the process involved in the generation of electricity using uranium -235.
7. Define the following as applied to wave motion
(i) Frequency.
(ii) Amplitude.
(b) (i) Differentiate between music and noise.
(ii) Explain the factors which determine the pitch and the quality of a note produced by a turning fork.
(iii) Explain why reverberation in a concert hall is both desirable and undesirable.
(c) (i) Differentiate between music and noise
(ii) Explain the factors which determine the pitch and the quality of a note produced by a turning fork.
(iii) Explain why reverberation in a concert hall is both desirable and undesirable.
(d) Describe an experiment to show that a material medium is necessary for transmission of sound.
(e) When student standing 100 m away from the foot of a high wall claps, an echo is heard after 0.6 s. Calculate the velocity of sound in air.
8. (a) Differentiate between electromotive force and potential difference
(b) Give two advantages of connecting bulbs in parallel to a battery
(c) (i) State ohm’s law
(ii) Describe an experiment to verify ohm’s law.
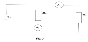
(d) Given the circuit in figure 3

Find
(iii) Readings of ammeters A1 and A2 .
(iv) Total power dissipated in the resistors.
